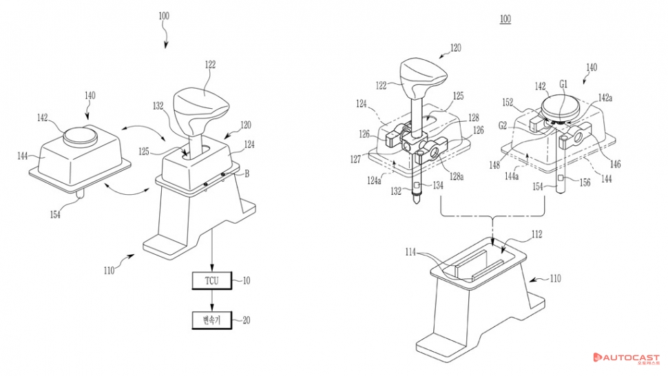
[오토캐스트=정영철 기자] 기아자동차가 오는 12월 출시할 예정인 신형 K5에 다이얼 형태의 변속기를 사용하는 것으로 확인됐다. 업계 관계자는 “신형 K5에 다이얼 변속기를 사용하는 것은 맞다”며 “새로운 디자인을 적용했음을 확인했다”고 밝혔다. 2018년 출원한 현대기아자동차 차량용 변속조작 장치 특허 도안 새로운 다이얼 형태의 변속기는 현대자동차그룹의 특허 정보에서도 찾을 수 있다. 2018년 1월 현대자동차와 기아자동차가 공동으로 출원한 <차량용 변속조작 장치> 특허에 따르면 기존의 기어봉 형태의 변속기 외에도 다이얼 형태의 변속기를 추가로 적용했다. 특히, 기어봉과 다이얼을 선택적으로 사용할 수 있는 구조를 구현한 것이 큰 특징이다.따라서, 옵션에 따라 변속기의 형태가 바뀌는 것도 가능하다. 변속기 하부의 변속기 제어유닛(TCU)은 그대로 유지하면서 운전자가 손으로 접촉하는 부분을 레버 형태나 다이얼 형태 모두 적용할 수 있다. 쏘울 부스터 EV 인테리어 기아차는 이와 비슷한 형태의 변속기를 이미 선보인 바 있다. 기아차가 발표한 2019년 쏘울 부스터 EV에는 다이얼 형태의 변속기가 들어갔다. 하지만 전기차인 점을 고려하면 동일한 구조인지는 확인할 수 없다. 내연기관 자동차 가운데는 신형 K5에 다이얼 형태를 최초로 적용한다. 이와 같은 변속기는 기아차가 29일 공개한 렌더링 이미지에서도 확인된다. 해당 이미지에는 기어레버가 위치할 자리에 동그란 다이얼만 있고 쏘나타 등에서 보여줬던 버튼식 변속기조차 확인되지 않는다. 이를 두고 변속기 레버를 감춘 것이 아니냐는 의견과 다이얼은 주행모드 선택용일 것이라는 의견도 나왔다. 또, 동호회 등에서 변속기 레버가 2가지 종류로 나온다는 루머도 있었지만 사실 여부는 지금까지 확인할 수 없었다.cdyc37@autocast.kr Tags : 오토캐스트 기아 k5 신형 공개 인테리어 다이얼 변속기 정영철
[오토캐스트=정영철 기자] 기아자동차가 오는 12월 출시할 예정인 신형 K5에 다이얼 형태의 변속기를 사용하는 것으로 확인됐다. 업계 관계자는 “신형 K5에 다이얼 변속기를 사용하는 것은 맞다”며 “새로운 디자인을 적용했음을 확인했다”고 밝혔다. 2018년 출원한 현대기아자동차 차량용 변속조작 장치 특허 도안 새로운 다이얼 형태의 변속기는 현대자동차그룹의 특허 정보에서도 찾을 수 있다. 2018년 1월 현대자동차와 기아자동차가 공동으로 출원한 <차량용 변속조작 장치> 특허에 따르면 기존의 기어봉 형태의 변속기 외에도 다이얼 형태의 변속기를 추가로 적용했다. 특히, 기어봉과 다이얼을 선택적으로 사용할 수 있는 구조를 구현한 것이 큰 특징이다.따라서, 옵션에 따라 변속기의 형태가 바뀌는 것도 가능하다. 변속기 하부의 변속기 제어유닛(TCU)은 그대로 유지하면서 운전자가 손으로 접촉하는 부분을 레버 형태나 다이얼 형태 모두 적용할 수 있다. 쏘울 부스터 EV 인테리어 기아차는 이와 비슷한 형태의 변속기를 이미 선보인 바 있다. 기아차가 발표한 2019년 쏘울 부스터 EV에는 다이얼 형태의 변속기가 들어갔다. 하지만 전기차인 점을 고려하면 동일한 구조인지는 확인할 수 없다. 내연기관 자동차 가운데는 신형 K5에 다이얼 형태를 최초로 적용한다. 이와 같은 변속기는 기아차가 29일 공개한 렌더링 이미지에서도 확인된다. 해당 이미지에는 기어레버가 위치할 자리에 동그란 다이얼만 있고 쏘나타 등에서 보여줬던 버튼식 변속기조차 확인되지 않는다. 이를 두고 변속기 레버를 감춘 것이 아니냐는 의견과 다이얼은 주행모드 선택용일 것이라는 의견도 나왔다. 또, 동호회 등에서 변속기 레버가 2가지 종류로 나온다는 루머도 있었지만 사실 여부는 지금까지 확인할 수 없었다.cdyc37@autocast.kr