횡풍안정제어기술은 현대차그룹이 2014년 등록한 특허 (차량의 토크 벡터링 제어장치 및 방법)에 기반한 기술로 터널 등에서 빠져 나올 때 갑자기 옆에서 바람이 불어오는 상황 등에 대응하기 위한 기술이다.

기존 기술에서는 횡풍을 감지하면 스티어링휠에 보상 움직임을 적용해 직진을 할 수 있도록 만들었지만 일정 시간 이상 횡풍을 감지해야해서 터널의 진출입과 같은 갑작스런 상황에 대응하기 어렵고 타이어의 편마모 등을 가속화하는 부작용이 있었다.

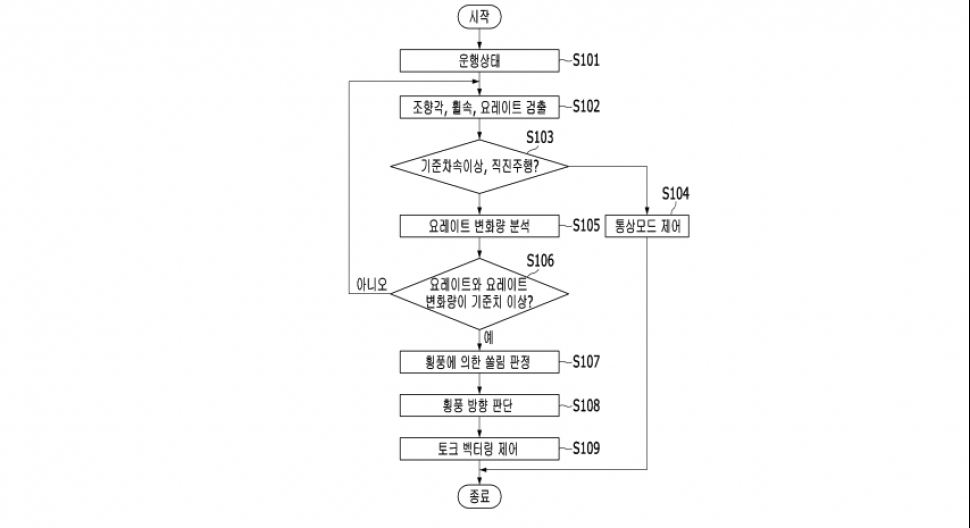
현대차그룹은 ‘횡풍안정제어’ 기술을 스타리아 전 트림에 적용하면서 주행안정성을 강화했다고 강조했다.
횡풍안정제어 기술은 차량의 횡축 움직임을 판단하는 ‘요레이트’ 센서가 횡풍을 감지하면 바람이 불어오는 방향의 바퀴에 토크를 조절해 안정적인 주행을 돕는다.
이와 함께 2023년식 스타리아에는 카고와 투어러의 모던 트림에는 자외선 차단 유리를, 라운지 모델 전 트림에는 샤크핀 안테나를 기본 적용한다. 또, 투어러와 라운지 모델은 러기지 네트와 후크를 개선했고 라운지 7인승 모델의 2열 시트 착좌감을 개선했다.

또, 멀티 행거, 어린이 헤드레스트, 러기지 파티션 테이블 등 커스터마이징 품목을 추가했다.
판매 가격은 카고 2.2 디젤 3인승 스마트 2806만원부터 시작하며 3.5 LPi 모델은 3인승 모던 2927만원부터 시작한다. 또, 투어러 2.2 디젤은 9인승 모던 3169만원부터 3.5LPi 모델은 9인승 3139만원 부터이며 라운지 2.2 디젤은 9인승 프레스티지 3736만원, 3.5LPi 모델은 9인승 프레스티지 3706만원부터다.
auto@autocast.kr